University of Bielefeld -  Faculty of technology
Networks and distributed Systems
Research group of Prof. Peter B. Ladkin, Ph.D.
Back to Abstracts of References and Incidents Back to Root

Selected Appendices from the Airbus A320-211 Warsaw Accident Report

prepared and edited by Marco Gröning

14 April 1997

The Appendices were scanned from a photocopy of the report using Deskscan II. Sizes of most figures were in the region of 450K-600K. The figures were then worked over by hand with Paint Shop Pro version 4.12 shareware, to reduce them by an order of magnitude or more without losing (and in some cases actually enhancing) readability.
M. Gröning.


Section 4.2: CVR transcripts

Transcripts from CVR - Channel 1 Pilot Non-Flying

Part 1
Page 2

Transcripts from CVR - Cockpit Area Microphone

Part 1
Part 2
Part 3
Part 4
Part 5
Part 6

Section 5: Documentation of the Braking System

Flight Controls: Speed Brake and Ground Spoilers

Section 1.27.10 P10
Section 1.27.10 P11

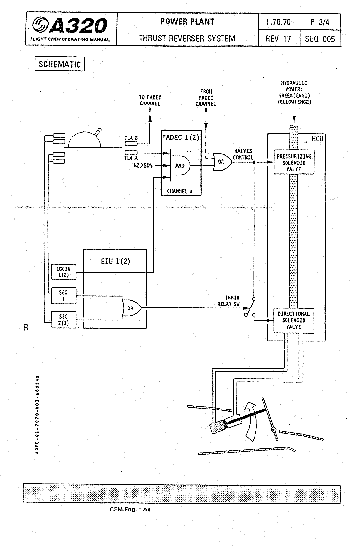
Power Plant: Thrust Reverser System

Section 1.70.70 P1
Section 1.70.70 P2
Section 1.70.70 P3/4

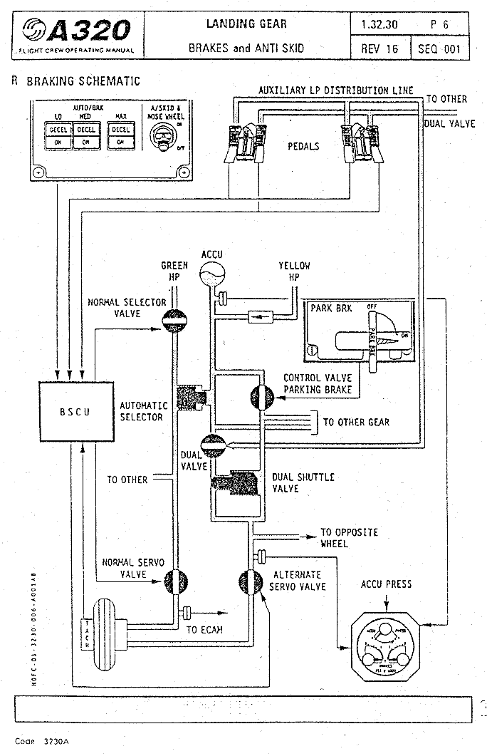
Landing Gear: Brakes and Anti-Skid

Section 1.32.30 P1
Section 1.32.30 P2
Section 1.32.30 P3
Section 1.32.30 P4
Section 1.32.30 P5
Section 1.32.30 P6

Section 6: Procedures and Performance Documentation

Lufthansa Sections: Flight Crew Manual

Windshear: Model of Flight Crew Actions

FCM 6.60/5
FCM 6.60/6

Lufthansa Sections: Airplane Operations Manual

Certified Performance: Landing Performance

9.30/1
9.30/2 (in Landscape format)

Inflight Performance: Landing

11.70/1
11.70/2
11/70/3+4

Special Operations: Takeoff and Landing on Contaminated Runway

8.20/7
8.20/8 (in Landscape format)

Supplementary Procedures: Adverse Weather

5.24/17
5.24/18
5.24/19+20
5.24/17 - Temporary Revision 93-19
5.24/18 - Temporary Revision 93-19


Back to top

Back to `Incidents and Accidents'.


Peter B. Ladkin, 1999-02-08
Last modification on 1999-06-15
by Michael Blume